Скоба такелажная, оцинкованная

Скобы такелажные применяют для крепления к тросам и цепям подвешенных элементов, которые участвуют в подъеме и перемещении конструкций. За счет скоб можно сформировать надежную и быстросъемную сцепку.

Купить скобы такелажные можно в транспортной упаковке и подвесах кратностью по 10 упаковок.

в упаковке ?
На складе
шт
535.3 р.

Описание

Шаклы или скобы Шакле применяют для формирования соединения длинномерных такелажных приспособлений между собой и с другими элементами в одну систему. Крепление производится за счет винта, проходящего через обе лапы (конца) скобы такелажной.


Соединение через скобу такелажную (шакл) считают одним из самых надежных. Фиксация выполняется двумя способами затвора: винтом или болт-гайка-шплинт. Винтовая конструкция уступает в надежности, но ее устанавливать и демонтировать быстрее. Такие скобы такелажные применяют в регулярном использовании из-за быстрой фиксации, то есть на временных конструкциях или с частным раскрытием.

Скоба такелажная тип СА или по-другому, скоба анкерная (тип «СА»), относится к прямому виду, тип «СИ» - омегообразному. Важно отменить, что скобы СА рассчитаны на продольные нагрузки. Скобы такелажные прямого типа применяют для прямого крепления по единой оси. В продаже DIN 832 прямая скоба со штифтом (винтом) без гайки с внутренней резьбой. Российский стандарт: ТУ ОСТ 5.2312-79 "Скобы такелажные». Другое название скобы - серьга.

При монтаже скобы на канаты, цепи, стропы рекомендуют фиксировать элементы с большим диаметром на дугу, а с меньшим - на штифт (палец) скобы. Если один из присоединяемых элементов широкая стропа, то важно подбирать внутреннюю длину пальца (штыря) под ширину стропы. В противном случае ось, вдоль которой будет действовать сила, сместиться, что значительно снизит грузоподъемность такелажа. На скобе со скомканной лентой стропы под воздействии силы тяжести как раз и наблюдается такое смещение оси.

Основные требования по формированию соединения на серьгу (скобу такелажную)

  • шакл должен быть закреплен без перекосов
  • скоба такелажная прямая предназначена только для вертикального перемещения вверх-вниз
  • на спинку скобы прямого типа можно накинуть только один трос или цепь
  • палец скобы должен быть правильно полностью ввинчен в скобу. при использовании скобы в грузоподъемных работах крепление к поднимаемому грузу должно производиться только за штифт (палец) скобы.

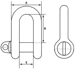
Размеры и характеристики скобы такелажной

skoba_takelazhnaya_d_obraznaya-shema-med.jpg
Размер, мм
/ Диаметр
пальца
Рабочее
расстояние
на пальце,
Е мм
Внутреннее
рабочее
расстояние
скобы,
В мм
Внешнее
расстояние
скобы,
А мм
Разрушающая
нагрузка,
тн
5 10 20 15 0,4
6 12 24 18 0,5
8 16 32 25 1,0
10 20 40 30 1,5
12 25 48 37 2,5
14 28 53 43 3,0
16 32 60 47 4,0
20 38 74 61 5,5
22 44 85 68 7,5
25 51 97 77 10,0
28 56 107 87 15,0
32 64 122 100 17,5
38 76 146 120 25,0


...свернуть

Ваша цена на Скоба такелажная, оцинкованная

3 мм (кратн. 10 упак)
Изображение подвес 2 шт
535.3 р.
уп.
4 мм (кратн. 10 упак)
Изображение подвес 2 шт
515.2 р.
уп.
5 мм
Изображение короб 1 шт
12.2 р.
уп.
5 мм (кратн. 10 упак)
Изображение подвес 2 шт
443.9 р.
уп.
6 мм
Изображение короб 1 шт
17.6 р.
уп.
6 мм (кратн. 10 упак)
Изображение подвес 2 шт
583.3 р.
уп.
8 мм
Изображение короб 1 шт
20.3 р.
уп.
8 мм (кратн. 10 упак)
Изображение подвес 2 шт
660.4 р.
уп.
10 мм
Изображение короб 1 шт
30 р.
уп.
10 мм (кратн. 10 упак)
Изображение подвес 2 шт
940.5 р.
уп.
10 мм (кратн. 10 упак)
Изображение подвес 1 шт
530.8 р.
уп.
12 мм
Изображение короб 1 шт
36.9 р.
уп.
12 мм (кратн. 10 упак)
Изображение подвес 2 шт
1 148.9 р.
уп.
12 мм (кратн. 10 упак)
Изображение подвес 1 шт
739 р.
уп.
14 мм
Изображение короб 1 шт
57.1 р.
уп.
14 мм (кратн. 10 упак)
Изображение подвес 1 шт
908 р.
уп.
16 мм
Изображение короб 1 шт
78.4 р.
уп.
16 мм (кратн. 10 упак)
Изображение подвес 1 шт
1 345.3 р.
уп.
18 мм
Изображение короб 1 шт
140 р.
уп.
20 мм
Изображение короб 1 шт
153.4 р.
уп.
22 мм
Изображение короб 1 шт
247.2 р.
уп.
28 мм
Изображение короб 1 шт
606.7 р.
уп.
32 мм
Изображение короб 1 шт
964.7 р.
уп.

С этим товаром покупают

Возможные названия, по которым покупатели могут искать данный товар: серьга, шакл, скоба Шакле

Вопросы / Консультации

Написать комментарий

Вы уже писали комментарий к этому товару

Ничего не найдено

Ответить

Вы уже писали комментарий к этому товару

Задать вопрос

Имя

Ваш вопрос

Введено символов: 0 / 200

Ничего не найдено