Рым-гайка DIN 582

Рым-гайки DIN 582 применяют для крепления цепей и тросов, в растяжках, при фиксации болтового соединения.

Рым-гайки от М6 до М20 можно купить в транспортной упаковке (кратность уточнять у менеджера) и в подвесах по 1 рым-гайке (кратность по 10 упаковок).

Стандарт:
DIN 582
в упаковке ?
На складе
шт
22.1 р.

Описание

Размер рым-гайки DIN 582 определяется по резьбовой части внутри гайки. DIN 582 М8 соответствует стандартной метрической резьбе М8 и применяется в болтовых соединениях на резьбе М8.


пример применения рым-гайки DIN582 в Петербурге

Рым-гайка DIN 582 оцинкованная применяется для подъёма грузов в такелажных работах в соединении с другим грузоподъемным такелажем. Подъём конструкции с рым-гайкой осуществляется вдоль оси гайки. Важно, что при подъеме под углом (не более 45 градусов) грузоподъемность изделия значительно уменьшается. Так при направлении строп под углом 45 градусов в плоскости кольца рабочая нагрузка составит на треть меньше от расчетной, а вне плоскости под углом - в три раза.

В строительных магазинах чаще встречаются рым-гайки размером М8-М12, которые используют для фиксации такелажных приспособлений, формирования кольца для сборки сложных конструкций.

Монтаж рым-гайки простой и надежный за счет особенностей конструкции изделия. Если для установки гайки, которую накручивают на болт или шпильку, требуется гаечный ключ, то кольцо на рым-гайке служит рычагом для ввинчивания его в болтовое соединение.

Рым-гайки для строительных и бытовых нужд производят из стандартных марок стали методом штамповки. Литье или ковка относятся к более затратным методам, но отличаются повышенной прочностью.

Метод горячей штамповки следующий:

  • в пресс вставляют форму с заготовкой,
  • под высоким давлением, штамповкой, материал заполняет форму,
  • очищают деталь от окалин и грязи,
  • наносится слой цинка для защиты от окисления материала.

Рым-гайки DIN 582 также производят из нержавеющих марок стали, которые активно используют в условиях повышенной влажности в соединении с другими такелажными приспособлениями из нержавейки.

Гайка с проушиной или гайка с кольцом - такие названия тоже встречаются и отражают суть крепежного изделия. Болтовое соединение относится к наиболее надежным в строительстве. Прочное закрепление шпильки и последующее соединение с рым-гайкой формирует крепкий узел, за который цепляется талреп или крюк с тросом. Данные крепление актуально при возведении навесных конструкций, для натяжения длинномерных приспособлений для временных или постоянных сооружений.

Установка рым-гайки DIN 582 в основание конструкции, в напольное перекрытие или рабочий материал поверхности позволяет создать узел в системе рычагов. Поднятие и перемещение грузов при этом значительно уменьшают энерго затраты. За кольцо, которое прочно зафиксировано, например, в бетонном основании организуют натяжение столбов или других высоких вертикальных конструкций по принципу мачты.

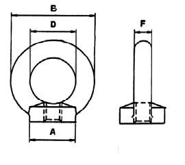
Размеры и характеристики рым-гайки DIN 582

рис_din_582.JPG
Размер Внешний
диаметр
гайки
A, мм
Внешний
диаметр
рыма
B, мм
Внутренний
диаметр
рыма
D, мм
Толщина
рыма
F, мм
Рабочая
нагрузка
кН
М 6 20 36 20 7 0,7
М 8 20 36 20 8 1,4
М 10 25 45 25 10 2,3
М 12 30 53 30 12 3,4
М 14 35 60 35 13 4,9
М 16 35 62 35 14 7,0
М 20 40 71 40 16 12,0
М 22 45 80 45 18 15,0
М 24 50 90 50 20 18,0
М 27 57 99 55 22 25,0
М 30 65 109 60 24 36,0
М 36 75 128 70 28 51,0
М 42 85 147 80 32 70,0


...свернуть

Ваша цена на Рым-гайка din 582

М6
Изображение короб 1 шт
22.1 р.
уп.
М6 (кратн. 10 упак)
Изображение подвес 1 шт
356.5 р.
уп.
М8
Изображение пакет 50 шт
1 597.4 р.
уп.
М8
Изображение короб 1 шт
23.4 р.
уп.
М8 (кратн. 10 упак)
Изображение подвес 1 шт
373.9 р.
уп.
М10 А2
Изображение короб 1 шт
34.2 р.
уп.
М10 (кратн. 10 упак)
Изображение подвес 1 шт
514.2 р.
уп.
М12
Изображение короб 1 шт
54.2 р.
уп.
М12 (кратн. 10 упак)
Изображение подвес 1 шт
774.6 р.
уп.
М14
Изображение короб 1 шт
52.1 р.
уп.
М14 (кратн. 10 упак)
Изображение подвес 1 шт
779.6 р.
уп.
М16
Изображение короб 1 шт
107.9 р.
уп.
М20
Изображение короб 1 шт
131.8 р.
уп.

С этим товаром покупают

Талреп DIN 1480
от 27.3 р.
за уп.
в упаковке 1 шт
Трос DIN 3055
от 7.8 р.
за уп.
в упаковке 1 м
Трос в оплетке ПВХ
от 10.2 р.
за уп.
в упаковке 1 м

Похожие товары

Рым-болт DIN 580
от 24.3 р.
за уп.
в упаковке 1 шт
Рым-гайка DIN 582 нерж.
от 90.9 р.
за уп.
в упаковке 1 шт

Вопросы / Консультации

Написать комментарий

Вы уже писали комментарий к этому товару

Ничего не найдено

Ответить

Вы уже писали комментарий к этому товару

Задать вопрос

Имя

Ваш вопрос

Введено символов: 0 / 200

Ничего не найдено