Уголок крепежный, обзор
Самое простое крепление узлов под прямым углом в деревянном домостроении осуществляется с помощью уголков крепежных. Уже имея только их, можно соединить различные перекрытия, которые образуются деревянными балками, элементами.
Хит продаж: уголок крепежный!
Даже если угловое крепление бруса, балки производится другими способами, перфорированный крепежный уголок выступает как дополнительное усиление для углового крепления.
Конструктивные особенности и размеры крепежного уголка
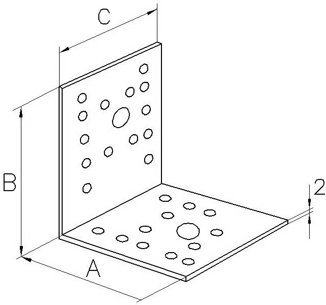
Материал. Уголки крепежные изготовляются из холоднокатанной оцинкованной стали путем штамповки металла (марки стали 08ПС, ГОСТ 14918-80). Благодаря листовой стали толщиной 2 мм соединительные элементы создают надежные стыковочные узлы в конструкциях.
Метод горячего цинкования придает креплению эстетически приятный внешний вид и позволяет защитить металл от коррозии, продливая срок эксплуатации перфорированных изделий. Кроме того, антикоррозийное цинковое покрытие обеспечивает возможность установки крепежа вне помещений, при внешних работах.
Размеры уголков крепежных варьируются в пределах 50-130 мм. На сайте ГОСКРЕП представлены следующие стандартные обозначения уголков (АхВхСх2мм):
- 50х50х35х2
- 70х70х53х2
- 90х90х40х2
- 90х90х65х2
- 105х105х90х2
- 130х130х100х2
На строительном рынке встречаются также изделия толщиной 1,8 или 2,5 мм. Это допустимо. Главное, чтобы соответствовало заявленным размерам.
Преследуя цель сэкономить, некоторые производители используют сталь толщиной 1,8 мм, указывая при этом стандартную — 2 мм. Разница в 10 % значительна при расчете, установке и дальнейшей эксплуатации. Тоже самое происходит и размерами уголка, которые уже считаются общепринятыми в строительстве. Следует избегать применения изделий, где обозначение разнится с реальными размерами крепежного элемента.
Отверстия. На каждой стороне уголка перфорированного предусмотрено одно, три или пять (KU 130х130х100х2) крупных отверстий, от четырех и более диаметром поменьше.
Строительный крепеж для крепления уголка применяется следующий: шуруп сантехнический (глухарь) в отверстия большого диаметра; шурупы универсальные (ШУЦ, ШУЖ), саморезы по дереву в отверстия маленького отверстия.
Штамповка уголка крепежного
На сайте ГОСКРЕП Вы можете просмотреть короткий ролик о том, как происходит производство уголка.
- Сырьем для производства служит холоднокатаная оцинкованная сталь, соответствующая ГОСТу 14918-80. Металл приходит в рулонах высотой 125 мм; масса каждого составляет порядка двух тонн.
- Установив на раскручивающее оборудование, листы нарезается на штрипсы (специальное название получаемых полос или лент) стандартной ширины изделия С (см. рис. выше): 35, 53, 40, 65, 105 мм или иное другое, если есть соответствующее заявленное требование.
- Полученные штрипсы размещают в штамповочном оборудовании, где наносятся отверстия разного диаметра, характерные для уголка крепежного.
- Перфорированные штрипсы нарезают на пластины одновременно с образованием отверстий или на отдельном оборудовании.
- Заключительное действие — сгибание пластины под прямым углом с ровно отстоящими полочками уголка на расстояние А, В.
Преимущества крепежного уголка
При скреплении элементов с помощью уголка крепежного не требует подготовительных работ по брусу, балки, доски, а именно врезки деревянного элемента. Тем самым не происходит ослабление несущей способности узла и конструкции в целом. Также есть ряд других преимуществ при использовании крепежного уголка:
- Надежность — выдерживает заданные нагрузки и обеспечивает требуемую жесткость
- Простота монтажа — не требуется особых специальных требований по установочному инструменту и навыков в работе
- Эстетический вид — имеет приятный металлический блеск, позволяет выполнить работу аккуратно
- Универсальность — используется как для наружных, так и внутренних работ
- Доступная стоимость — представляет собой отличное сочетание «цены-качества»
- Экономичность — крепится с помощью обычных шурупов и саморезов без дополнительных затрат
- Долговечность — имеет защиту от коррозии, продливающая срок эксплуатации изделия
Где используется крепежный уголок?
Уголок крепежный широко применим и его непосредственное назначение скреплять элементы:- в стропильной и подстропильной системах
- между собой под прямым углом различные балки, брусья, доски
- при сборки корпусной и мягкой мебели
- в быту
- при возведении лестничных конструкций
- при формировании потолочных и напольных каркасных конструкций, межэтажных перекрытий
Уголок крепежный усиленный
Уголок усиленный снабжен ребром жесткости, дополнительным элементом усиления, который позволяет значительно улучшить показатели несущей способности крепежного элемента и его жесткости при нагрузках. Благодаря этому прочность и надежность конструкции становится много выше, а значит идеально подходит для узлов, подверженных особым нагрузкам.

Ничего не найдено