Гайка мебельная врезная DIN 1624
Гайка мебельная врезная усовая — узкоспециализированная гайка, используемая в производстве мебельных конструкций.
Ее появление в разнообразии строительного крепежа обусловлено особенностями деревянных элементов, из которых в основном производят мебель. Древесина, как известно, природный материал, очень живо реагирующий на окружающую среду. Под воздействием влаги дерево набухает, а в сухом помещении — усыхает.
Преимущество мебельной гайки
Для скрепления деревянных элементов применяют саморезы и гвозди. Однако в мебельном производстве надежности скрепления, которое создается с их помощью, оказывается недостаточным. Со временем узел расшатывается, и саморез или гвоздь выпадает. Это актуально и для цельнодеревянных конструкций, и для производных от древесины рабочих материалов типа ДСП, имеющих более рыхлую структуру. Широкого шага резьбы самореза оказывается недостаточно при воздействии нагрузок, которые испытывает мебельная фурнитура.
Для создания более прочного соединения используют мебельные винты, которым требуется метрическая резьба. Нарезать в древесине ее нельзя, поэтому и спроектированы гайки, которые забиваются в рабочий материал, создавая отверстие с метрической резьбой. Данное соединение будет достаточно надежным и является лучшим решением в мебельном производстве. Гайка выполняется в соответствии с требованиями DIN 1624.
Мебельная забивная гайка устанавливается на автоматизированном производстве. Но и в бытовых условиях при покупке сборной мебели на фабрике подготавливают отверстие и врезают гайку - остается лишь закрепить винт или болт. Это позволяет делать монтаж более точным и быстрым.
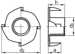
Конструкция гайки мебельной забивной
Гайка забивная, она же гайка врезная или усовая гайка состоит из цилиндра с внутренней метрической резьбой и фланца с упорными усиками.
Длины цилиндра (втулки) достаточно, чтобы гайка и установленный в нее винт создали прочное соединение.
Зауженная конструкция усиков на фланце имеет зубчики: такую усовую гайку просто вбить в деревянный элемент, а в дальнейшем при эксплуатации зубчики не позволяют прокручиваться и предотвращают от выпадания из рабочего материала. Площадь, которую охватывает фланец, позволяет равномерно распределять нагрузку на хрупкую древесину.
Благодаря плоскому фланцу место установки гайки DIN 1624 не имеет выступов.
Гайка мебельная DIN 1624 — разнообразие наименований
У одной гайки, выполненной согласно стандарту DIN 1624, имеется несколько наименований. Все они связаны с внешними характеристиками или особенностями монтажа.
- Усовая гайка — указывает на наличие усиков на фланце, которыми гайка закрепляется в деревянном рабочем материале.
- Гайка врезная — перед установкой крепежа вырезается отверстие, в которое она фиксируется.
- Гайка забивная — в подготовленное отверстие гайка вставляется посредством забивания.
- Гайка мебельная потайная — соединение является потайным, так как метрическая часть гайки находится внутри рабочего материала.
- Гайка носковая — при установке винт или болт вкручиваются в гайку, что очень схоже как крепеж надевает «носок» в качестве гайки.
- Крыльчатая гайка — указание на наличие крыльев или ушек, которые фактически выполняют функцию шайбы, увеличивая площадь распределения нагрузки. Внимание: чаще название «гайка крыльчатая» относится к гайке-барашек!
Монтаж врезной гайки
Установка мебельной гайки врезной является односторонним.
- подготавливается сквозное отверстие (посадочное место) в рабочей поверхности под диаметр цилиндра (втулки) гайки сверлом по дереву. Для образования потайного места крепления с помощью фрезы по дереву высверливают углубление под фланец, равное его внешнему диаметру
- с помощью молотка крепеж забивается в рабочую поверхность или автоматически во время сборки мебельной конструкции
- винт или болт, проходя через отверстие, вкручивается с другой стороны рабочей поверхности, соединяя прикрепляемый элемент. Для распределения нагрузок на деревянную поверхность в месте соприкосновения головки болта или винта применяют увеличенную шайбу DIN 9021.
Гайка мебельная врезная: материал изготовления и типоразмеры
Купить мебельные гайки врезные можно как оцинкованные, так и из нержавеющей стали. В помещениях с высокой влажность или в агрессивной среде гайка врезная, выполненная из особостойкой стали, позволит создать прочное соединение.
Наиболее ходовыми типоразмерами являются М6, М8, М10. Их чаще используют в мебельном производстве. Кроме того, востребованы в других строительных сферах гайки врезные М5, М12.
В обозначение гайки выносится только диаметр метрической резьбы.
Гайка врезная по дереву DIN 1624 производится на заводах в Китае.
Геометрические характеристики DIN 1624
| Диаметр резьбы, мм | M3 | M4 | M5 | M6 | M8 | M10 | M12 |
| Р шаг резьбы, мм | 0,5 | 0,7 | 0,8 | 1 | 1,25 | 1,5 | 1,75 |
| Диаметр d2 наружный диаметр, мм | 13 | 15 | 17 | 19 | 22,2 | 25,4 | 28 |
| Диаметр d3 диаметр втулки, мм | 6,3 | 6,3 | 6,3 | 7,2 | 9,1 | 12,5 | 12,5 |
| h высота гайки, мм | 8 | 8 | 8 | 9 / 12 | 11 / 15 | 12,5 | 12,5 |
| а высота шипа, мм | 7 | 7 | 7 | 7 | 9 | 11 | 11 |

Ничего не найдено