Анкерный болт с гайкой, обзор

Назначение: монтаж различных конструкций (стальные конструкции, барьеры, ограждения и т.д.) в полнотелых материалах.
Материал: сталь 1008
Покрытие: желтопассированный
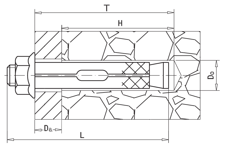
Состоит из втулки, шпильки с конусом на конце и гайки-прокладки
Конструкционные особенности анкерного болта с гайкой
Анкерный болт с гайкой представляет собой сложное крепежное изделие, изготовленное из составных частей: шпильки с распором, внешней оболочки и гайки с запрессованной шайбой. Отличительная особенность конструкции в том, что при монтаже анкера с гайкой, шпилька начинает выступать за края анкера, увеличивая его общую длину.
Рекомендуемая нагрузка не должна превышать 25% от максимальной (нагрузки на вырывание). Рекомендуемая нагрузка увеличивается пропорционально возрастанию прочности бетона.
При закручивании гайки, шпилька с распором перемещается в сторону гайки, расклинивая, таким образом, внешнюю оболочку, которая, в свою очередь, упирается в стенки отверстия. Не рекомендуется осуществлять монтаж в пенобетоне, гипсолите, асфальте, гипсокартоне, ракушечнике и других неплотных материалах.
Технические характеристики анкерного болта с гайкой
| Размер, мм | 8х25 | 8х40 | 8х65 | 8х85 | 10х40 | 10х50 | 10х60 | 10х75 |
| Do, диаметр отверстия под анкер, мм | 8 | 8 | 8 | 8 | 10 | 10 | 10 | 10 |
| T, min глубина при сквозном монтаже, мм | 40 | 40 | 65 | 85 | 40 | 50 | 60 | 75 |
| H, min глубина анкеровки, мм | 35 | 35 | 35 | 35 | 40 | 40 | 40 | 40 |
| L, длина анкера, мм | 45 | 45 | 70 | 90 | 45 | 55 | 65 | 80 |
| Da, max толщина прикрепляемого материала, мм | 5 | 5 | 30 | 50 | 10 | 10 | 20 | 35 |
| Резьба | М6 | М6 | М6 | М6 | М8 | М8 | М8 | М8 |
| min вырывающая сила, кН (бетон В25) | 10,5 | 10,5 | 10,5 | 10,5 | 13,1 | 13,1 | 13,1 | 13,1 |
| Допустимый изгибающий момент, Нм | 5,2 | 5,2 | 5,2 | 5,2 | 12,9 | 12,9 | 12,9 | 12,9 |
| max крутящий момент при анкеровке, Нм | 10 | 10 | 10 | 10 | 25 | 25 | 25 | 25 |
| Размер, мм | 10х95 | 10х125 | 10х130 | 10х150 | 10х180 | 12х60 | 12х75 | 12х100 |
| Do, диаметр отверстия под анкер, мм | 10 | 10 | 10 | 10 | 10 | 12 | 12 | 12 |
| T, min глубина при сквозном монтаже | 95 | 125 | 130 | 150 | 180 | 60 | 75 | 100 |
| H, min глубина анкеровки | 40 | 40 | 40 | 40 | 40 | 35 | 50 | 50 |
| L, длина анкера | 100 | 130 | 135 | 155 | 185 | 65 | 80 | 105 |
| Da, max толщина прикрепляемого материала, мм | 55 | 85 | 90 | 110 | 140 | 25 | 25 | 50 |
| Резьба | М8 | М8 | М8 | М8 | М8 | М10 | М10 | М10 |
| min вырывающая сила, кН (бетон В25) | 13,1 | 13,1 | 13,1 | 13,1 | 13,1 | 18,3 | 18,3 | 18,3 |
| Допустимый изгибающий момент, Нм | 12,9 | 12,9 | 12,9 | 12,9 | 12,9 | 25,7 | 25,7 | 25,7 |
| max крутящий момент при анкеровке, Нм | 25 | 25 | 25 | 25 | 25 | 40 | 40 | 40 |
| Размер, мм | 12х130 | 12х150 | 12х180 | 12х200 | 12х200 | 12х250 | 12х280 | 12х300 |
| Do, диаметр отверстия под анкер, мм | 12 | 12 | 12 | 12 | 12 | 12 | 12 | 12 |
| T, min глубина при сквозном монтаже | 130 | 150 | 180 | 200 | 220 | 250 | 280 | 300 |
| H, min глубина анкеровки | 50 | 50 | 50 | 50 | 50 | 50 | 50 | 50 |
| L, длина анкера | 135 | 155 | 185 | 205 | 225 | 255 | 285 | 305 |
| Da, max толщина прикрепляемого материала, мм | 80 | 100 | 130 | 150 | 170 | 200 | 230 | 250 |
| Резьба | М10 | М10 | М10 | М10 | М10 | М10 | М10 | М10 |
| min вырывающая сила, кН (бетон В25) | 18,3 | 18,3 | 18,3 | 18,3 | 18,3 | 18,3 | 18,3 | 18,3 |
| Допустимый изгибающий момент, Нм | 25,7 | 25,7 | 25,7 | 25,7 | 25,7 | 25,7 | 25,7 | 25,7 |
| max крутящий момент при анкеровке, Нм | 40 | 40 | 40 | 40 | 40 | 40 | 40 | 40 |
| Размер, мм | 14х200 | 14х250 | 16х65 | 16х110 | 16х150 | 16х180 | 16х220 | 16х250 |
| Do, диаметр отверстия под анкер, мм | 14 | 14 | 16 | 16 | 16 | 16 | 16 | 20 |
| T, min глубина при сквозном монтаже | 200 | 250 | 65 | 110 | 150 | 180 | 220 | 250 |
| H, min глубина анкеровки | 50 | 50 | 60 | 60 | 60 | 60 | 60 | 60 |
| L, длина анкера | 205 | 255 | 70 | 115 | 155 | 185 | 225 | 255 |
| Da, max толщина прикрепляемого материала, мм | 150 | 200 | 5 | 50 | 90 | 120 | 160 | 190 |
| Резьба | М12 | М12 | М14 | М14 | М14 | М14 | М14 | М14 |
| min вырывающая сила, кН (бетон В25) |
|
|
22,8 | 22,8 | 22,8 | 22,8 | 22,8 | 22,8 |
| Допустимый изгибающий момент, Нм |
|
|
32,1 | 32,1 | 32,1 | 32,1 | 32,1 | 32,1 |
| max крутящий момент при анкеровке, Нм |
|
|
50 | 50 | 50 | 50 | 50 | 50 |
| Размер, мм | 20х75 | 20х107 | 20х110 | 20х150 | 20х200 | 20х300 |
| Do, диаметр отверстия под анкер, мм | 20 | 20 | 20 | 20 | 20 | 20 |
| T, min глубина при сквозном монтаже | 75 | 107 | 110 | 150 | 200 | 300 |
| H, min глубина анкеровки | 60 | 60 | 60 | 60 | 60 | 60 |
| L, длина анкера | 80 | 112 | 115 | 155 | 205 | 305 |
| Da, max толщина прикрепляемого материала, мм | 15 | 47 | 50 | 90 | 140 | 240 |
| Резьба | М16 | М16 | М16 | М16 | М16 | М16 |
| min вырывающая сила, кН (бетон В25) | 27,4 | 27,4 | 27,4 | 27,4 | 27,4 | 27,4 |
| Допустимый изгибающий момент, Нм | 32,1 | 38,5 | 38,5 | 38,5 | 38,5 | 38,5 |
| max крутящий момент при анкеровке, Нм | 50 | 60 | 60 | 60 | 60 | 60 |

Ничего не найдено